Оберіть автомобіль для точного підбору запчастин
Ваш гараж порожній
Натисніть «Додати автомобіль», щоб обрати авто

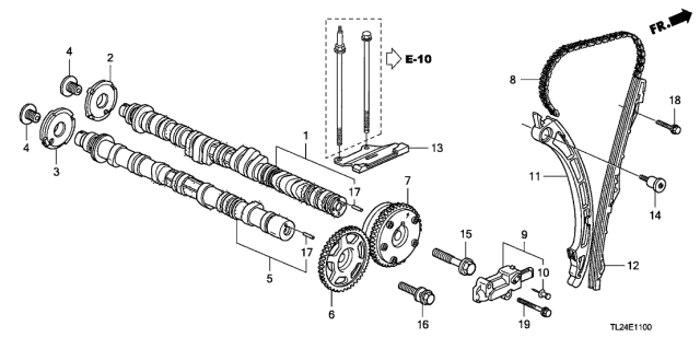
Напрямна ланцюга ГРМ (14520RAHH01)

  • Артикул 14520-RAH-H01
  • Виробник Honda
  • Вага 0.179 кг
Доступна Оплата частинами на 4 платежі від Монобанк

МІНІМАЛЬНИЙ СТРОК

Склад: HDOD Україна
Доставка: 05.05.2026 -
Наявність: 18 шт.
2 720 грн

Мінімальна ціна

Склад: NBOT ОАЕ
Доставка: 04.07.2026 -
Наявність: 20 шт.
2 548 грн
Напрямна ланцюга ГРМ (14520-RAH-H01) від Honda - оригінальна запчастина, яка забезпечує правильну роботу ременя ГРМ. Завдяки своїй високоякісній конструкції та точній фіксації, вона гарантує плавний хід двигуна та запобігає перекиданню ременя. Ця напрямна ланцюга підходить для різних моделей Honda і є надійним вибором для заміни старої або пошкодженої запчастини.
Загальний рейтинг

Ще немає відгуків

Меню
(097) 528-45-78