Оберіть автомобіль для точного підбору запчастин
Ваш гараж порожній
Натисніть «Додати автомобіль», щоб обрати авто

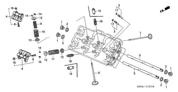
Пружина коромисла клапана ГРМ (14820PR7A10)

Зверніть увагу: виробник змінив номер деталі.
Новий артикул: 14820-PCB-305
  • Артикул 14820-PR7-A10
  • Виробник Honda
  • Вага 0.04 кг
Доступна Оплата частинами на 4 платежі від Монобанк

МІНІМАЛЬНИЙ СТРОК

Склад: MZEQ США
Доставка: 23.06.2026 -
Наявність: 20 шт.
2 476 грн

Мінімальна ціна

Склад: UZIZ ОАЕ
Доставка: 10.09.2026 -
Наявність: 20 шт.
630 грн
Pружина коромисла клапана ГРМ (14820-PR7-A10) - оригінальна запчастина від Honda, розроблена для забезпечення ефективної роботи системи ГРМ. Ця пружина виконує важливу роль у підтримці оптимального тиску, що дозволяє клапанам працювати правильно. Вона має високу якість та довговічність, що гарантує надійну роботу двигуна та зниження ймовірності поломок. Оберігайте свій автомобіль, вибираючи запчастини від Honda!
Пружина клапана
HONDA/ACURA 14820PR7A12
Пружина клапана
14 пропозицій · від 2 373 грн · 0.035 кг
Гидрокомпенсатор
HONDA/ACURA 14820PR7A11
Гидрокомпенсатор
6 пропозицій · від 2 373 грн · 0.038 кг
Загальний рейтинг

Ще немає відгуків

Меню
(097) 528-45-78